
MIL-PRF-38135C(USAF)
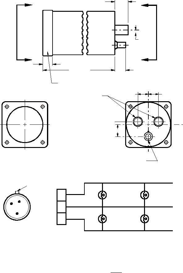
.688 MAX
A
B
.125 ± .01
A
B
.500 ± .0625
3.750 ± .125
.560 ± .01
BEZEL
.610 ± .1
.610 ± .1
.4375-20 UNJF-3B
IN ACCORDANCE
WITH MS33649-4
S
P
.525 ± .1
VIEW A-A
ELECTRICAL CONNECTOR DEUTSCH
DM5606-3P OR EQUIVALENT
VIEW B-B
WHITE
KEYWAY
2
3
1
COMMON
1
2
3
RED
NOTES:
1. DIMENSIONS IN INCHES.
2. DRAWING NOT TO SCALE.
3. THE FLANGE SHALL BE IN ACCORDANCE WITH MS33638.
FIGURE 1. Case
13
For Parts Inquires call Parts Hangar, Inc (727) 493-0744
© Copyright 2015 Integrated Publishing, Inc.
A Service Disabled Veteran Owned Small Business